Mini-Traverse Plus

Diese Art von Krantraversen zeichnen sich durch große Tragfähigkeiten bei geringem Eigengewicht aus.
Tragfähigkeit bis 12 t bei nur 65 kg Eigengewicht
Längenverstellbar von 1,25 m bis 2,75 m
Hohe Flexibilität durch diverse Anschlag- und Hebepunkt
Technische Details
Diese Lasttraverse ist mit diversen Anschlag- und Hebepunkten ausgestattet, wodurch sie vielseitig
einsetzbar sind. Tragfähigkeiten bis 12 t bei nur 65 kg Eigengewicht.
Durch die herausziehbaren Profile ist die Traverse stufenweise von 1,25 bis 2,75 m in der Länge ver-
stellbar und wird mit Bolzen mit Sicherungssplint gesichert.

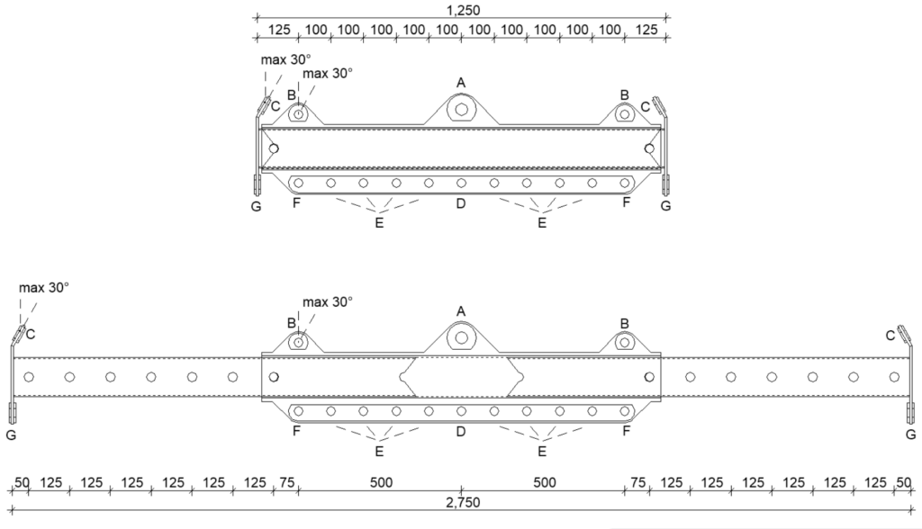
Beispiel im Bild: Minitraverse – minimale Länge 1,25 m, mit Stützfüßen
Die Länge der Traverse beträgt minimal 1,25 m und passt somit auf eine EU-Palette. Die 2 Innenprofile können herausgezogen werden und werden mittels Bolzen mit Sicherungssplint in der Lage gesichert. Somit lassen sich stufenweise Längen von 1,25 m bis 2,75 m in 0,25 m-Schritten einstellen. Durch die mitgelieferten Stützfüße ist das Einstellen der Länge ohne Aufständerung möglich und die Traverse kann einfach auf einer Palette befestigt werden.
Das Lochband am unteren Ende der Traverse ermöglicht es, auch kleinere Hebeabstände von 1,25 m oder auch einen mittigen Hub mit nur einem Hebepunkt zu realisieren.
TRAGFÄHIGKEITEN
Je nach eingestellter Länge und verwendetem Hebepunkt ergeben sich unterschiedliche Tragfähigkeiten.
Bei Verwendung als reine Gehängespreize gilt immer die volle Tragfähigkeit.
Bei Verwendung als Traverse gilt bei minimaler Länge die volle Tragfähigkeit und bei maximaler Länge die reduzierte Tragfähigkeit.


Lastaufnahme Beratung
Auf der Suche nach einer Sonderlösung? Noch nicht sicher, welches Lastaufnahmemittel das Richtige ist? Teilen Sie uns einfach Ihre Fragen und Anforderungen in unserem Kontaktformular mit. Wir melden uns innerhalb eines Tages. Versprochen!
Beschreibung
Lasttraversen von Wacker Bauprodukte sind ein weit verbreitetes Hebemittel, um schwere Lasten an mehreren Punkten zu heben und zu transportieren. Sie sind ideal zum Heben von Lasten, die an zwei oder mehr Punkten angehoben werden müssen.
Durch die verstellbare Länge und diversen Anschlag- und Hebepunkten, sind die Krantraversen vielseitig einsetzbar.
Eine mittige Hebeöse für die Verwendung als Traverse und diverse Hebeösen außen, für die Verwendung als Kettenspreize, stehen zur Verfügung.
Die minimale Länge der Spreiztraverse bei eingezogenen Rohren beträgt 1.250 mm. Dadurch lassen sich diese leicht transportieren, zum Beispiel auf einer Euro-Palette. Dank der mitgelieferten Stützfüße kann die Traverse auch auf die Palette geschraubt werden. Zudem lässt sich durch die festzuschraubenden Füße die Länge einstellen, ohne die Traverse aufständern zu müssen. Die Stützfüße können schnell mittels Schraube befestigt und wieder entfernt werden.

Die maximale Länge bei herausgezogenen Rohren beträgt 2.750 mm.

Was diese Art von Last- und Krantraversen vor allem auszeichnet, ist die einfache Verstellbarkeit und das geringe Eigengewicht von nur 65 kg: Die teleskopierbaren Spreiztraversen der Firma Wacker Bauprodukte lassen sich mit Hilfe der Sicherungsbolzen leicht einstellen. Die ausziehbaren Rohre können aufgrund ihres geringen Gewichts von Hand bewegt werden.
Die Traverse hat mit ca. 65 kg ein sehr geringes Gewicht und kann von 2 Personen gehandelt werden.
Die ausziehbaren Spreiz-Traversen wurden unter dem Gesichtspunkt der Sicherheit entwickelt.
Die Minitraverse wird mit Bedienungsanleitung in Deutsch und EG-Konformitätserklärung (CE-Zertifikat) geliefert.
Zubehör wie Schäkel, Ketten, Hebebänder, Rundschlingen und Haken werden auf Wunsch mit angeboten. Hier berät die Wacker Bauprodukte GmbH Sie gerne, welche Anschlagmittel für Sie die richtigen sind in Abhängigkeit von Ihren Randbedingungen.
Gerne unterstützen wir Sie bei der Wartung und Inspektion nach den Regeln der Deutschen Gesetzliche Unfallversicherung (DGUV Regel 019-017: “Betreiben von Lastaufnahmemitteln und Anschlagmitteln im Hebezeugbetrieb”, ehemals DGUV-Regel 100-500).

Die Krantraversen stehen in den Ausführungen feuerverzinkt oder pulverbeschichtet, in RAL-Farbe 1007 (narzissengelb), lagernd zur Verfügung. Andere Farben sind auf Anfrage möglich.

Die minimale Länge von 1,25 m im eingeschobenen Zustand ermöglicht ein Transport der Traverse auf einer EU-Palette. Somit sind die Spreiztraversen von Wacker Bauprodukte GmbH ein ideales Hilfsmittel für alle Kleinkräne, LKW- Ladekräne und Autokrane.

Passendes Zubehör wie Schäkel, Ketten, Hebebänder, Rundschlingen und Haken werden auf Wunsch mit angeboten.
Anwendung
Mit einer Kombination aus drei Traversen lassen sich auch Rahmentraversen oder H-Traversen realisieren. Je Ende der unteren Traversen können ein oder zwei Anschlagpunkte vorgesehen werden. Somit können Lasten an 4 oder 8 Punkten angeschlagen und angehoben werden.


Durch die herausziehbaren Schenkel der Minitraverse können exzentrische Lastschwerpunkte ausgeglichen werden. Diese Konstruktion ist somit die ideale Wahl bei Lasten mit exzentrischem Schwerpunkt mit unterschiedlicher Größe bei geringer Arbeitshöhe. Durch das geringe Eigengewicht der Minitraversen von nur 65 kg ist die Montage kinderleicht.
Das folgende Video zeigt einen Einsatz. Hier wurde eine H-Traverse bestehend aus 3 einzelnen Balkentraversen gebaut. Diese Art von H-Traverse gleicht die Last besser aus als eine starre H-Traverse.
ZUBEHÖR
Sie benötigen zugehörige Anschlagmittel? Sie wissen nicht genau, welche der vielen Teile die beste Wahl für Ihren Anwendungsfall ist?
Sie benötigen Abstützplatten für die LKW- oder Autokräne, um die Lasten zu verteilen und sicher in den Boden einzuleiten?
Aus unserem Portfolio suchen wir für Sie das passende Zubehör wie Schäkel, Ketten, Haken, Hebebänder, Rundschlingen und Lastverteilungsplatten heraus und bieten Ihnen dieses zu einem attraktiven Preis an. Alle Anschlagmittel erfüllen die Maschinenrichtlinie 2006/42/EG und werden mit einer EG-Konformitätserklärung geliefert.

WARTUNG UND INSPEKTION
In Deutschland wird der Betrieb, die Wartung und die Inspektion von Lastaufnahmemitteln wie Spreiztraversen durch die DGUV-Regel 109-017: Betreiben von Lastaufnahmemitteln und Anschlagmitteln im Hebezeugbetrieb, geregelt (ehemals DGUV-Regel 100-500).
Die DGUV Regel enthält unter anderem Pflichten der Betreiber zur Verhütung von Arbeitsunfällen. Eine Pflicht ist die Prüfung von Lastaufnahmemitteln:
- vor der ersten Verwendung,
- Prüfungen nach spätestens einem Jahr (jährliche Prüfung),
- außerordentliche Prüfung bei besonderen Ereignissen wie Schadensfällen,
- durch sogenannte befähigte Personen. Wacker Bauprodukte GmbH unterstützt Sie hierbei und bietet auch Schulungen zur Qualifizierung Ihrer Mitarbeiter als befähigte Personen an.
Spezifikationen
Lasttraversen gelten als Lastaufnahmemittel und werden daher entsprechend der EU-Maschinenrichtlinie 2006/42/EG geplant, bemessen und produziert.
![]()
Alle Krantraversen von Wacker Bauprodukte GmbH und deren Partner sind mit einem CE-Zeichen gekennzeichnet und werden mit EG-Konformitätserklärung (umgangssprachlich CE-Erklärung oder Zertifikat) und Bedienungsanleitung in Deutsch, Englisch, Französisch oder Spanisch geliefert.
![]()
Die Bemessung erfolgt gemäß EN 13155: Krane – Sicherheit – Lose Lastaufnahmemittel.
![]()
In dieser Norm werden die sicherheitstechnischen Anforderungen der Maschinenrichtlinie konkretisiert, um den Nachweis der Übereinstimmung mit diesen Anforderungen zu erleichtern. Bei der EN 13155 handelt es sich seit der Veröffentlichung im Amtsblatt der Europäischen Union um eine harmonisierte europäische Norm (hEN), auf deren Basis die CE-Erklärung basiert.
Die EN 13155 legt Sicherheitsanforderungen für lose Lastaufnahmemittel für Krane, Hubwerke und handgeführte Manipulatoren wie Traversen, Hebeklemmen (Greifer, Zangen), Krangabeln, Transportankersysteme und Blechklemmen fest.


